АЛ6.462.114
Прижим АЛ6.462.114
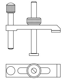
Прижим предназначен для того, чтобы зажимать на столике детали различных конфигураций и размеров.

Сделать заказ и запросить дополнительную информацию по АЛ6.462.114 Вы можете здесь.
Назад
Прижим предназначен для того, чтобы зажимать на столике детали различных конфигураций и размеров.
